Patentaanvraag BMW voor winglets met led-verlichting
Pagina gaat door onder advertenties
Eerder deze maand werd een patentaanvraag van BMW openbaar voor lichtgevende elementen op de kuip en dan meer specifiek voor winglets met verlichting.
BMW diende deze techniek al in december 2021 in bij het Duitse octrooi- en merkenbureau, maar het dus pas in juni 2023 gepubliceerd en dat onder de wat vage benaming ‘Kraftrad’ (motor), waarbij details over toekomstige stroomlijn-varianten voor BMW-motorfietsen worden omschreven.
Pagina gaat door onder advertenties
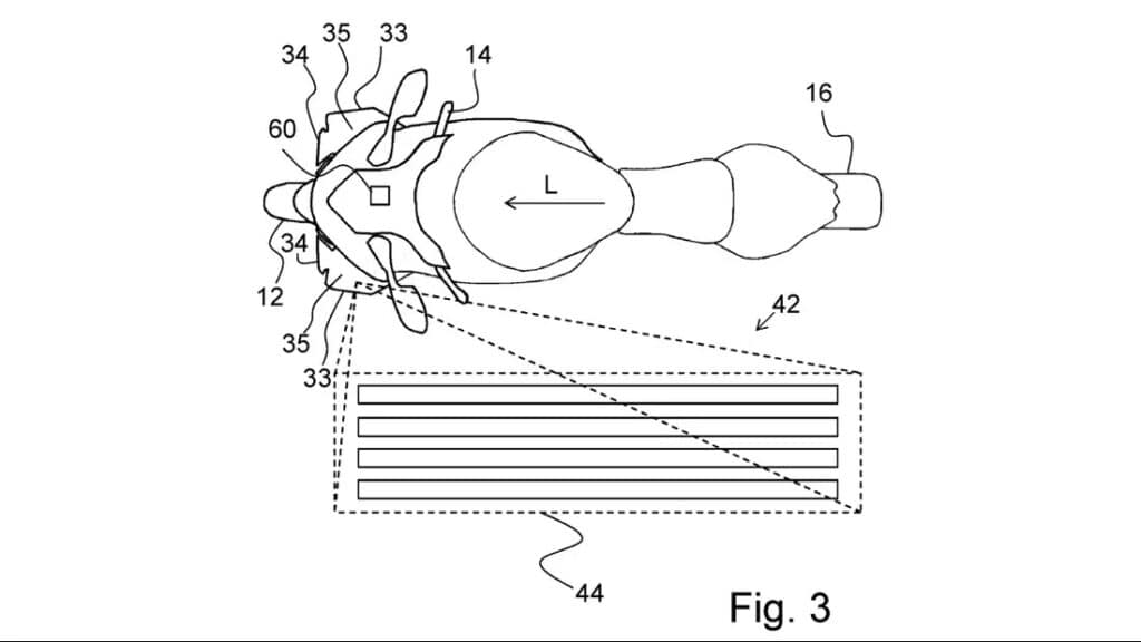
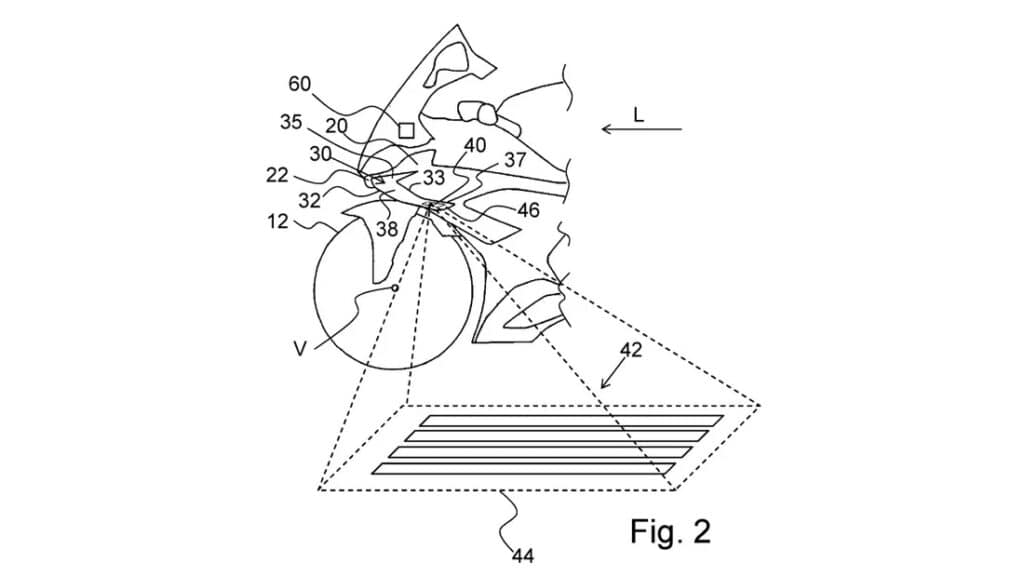
Niet zo voor de hand liggend, maar wel expliciet genoemd en zelfs een essentieel onderdeel van de patentaanvraag is het gebruik van de winglets voor zijdelingse grondverlichting. Soortgelijke ‘vloerverlichting’ bestaat al op BMW’s en meer precies in buurt van de middenbok van de K1600-modellen, wat moet helpen om de motor in donkere omstandigheden veilig te kunnen parkeren en een gênante buiteling voorkomen.
Met grondverlichting aan de onderkant van de winglets zouden nog meer mogelijkheden worden toegevoegd. Bijvoorbeeld, zoals te zien is op de patenttekeningen, lichtstroken aan de zijkant van de motorfiets, die zelfs tijdens het rijden zouden kunnen branden. Het zou dus kunnen bijdragen een betere zichtbaarheid in het donker en meer uitgebreide verlichting onder andere omstandigheden, een stukje actieve en passieve veiligheid dus.
Pagina gaat door onder advertenties
De patentaanvraag toont – duidelijk herkenbaar – een huidige BMW S1000RR of M1000RR. De ontwikkelingen en componenten zouden logischerwijs overdraagbaar zijn op alle modellen met winglets – inclusief toekomstige modellen. Het is nog niet bekend of en zo ja wanneer we de verlichte winglets op een productiemodel gaan zien.
Pagina gaat door onder advertenties
Pagina gaat door onder advertenties



